その他
2024-08-09

「摩天楼」競演時代が終焉!? “限高令”下で上海・深圳・大連の新ランドマークは高さ控えめ

中国上海都市開発


中国が進める超高層ビル規制が全国レベルで徹底されていく見通しだ。江蘇省では250メートル以上のビルを建設できる資格を「市区の常住人口300万人」と定めた意見募集稿をまとめ、8月26日までパブリックコメントを募集している。こうした動きが今後の都市開発にどのような影響を与えるかが注目されている。


世界の摩天楼、中国が7割

中国では、高層建築は高さ27メートル以上の住宅や24メートル以上の非単層工場、倉庫およびその他の民間建築と定義される。また、高さが100メートルを超えるものは超高層建築とされる。この定義は「建築設計防火規範」に基づくが、この基準を上回る150メートル以上の「摩天楼」や300メートル以上の超高層建築が次々と建設されてきたのが実状だ。

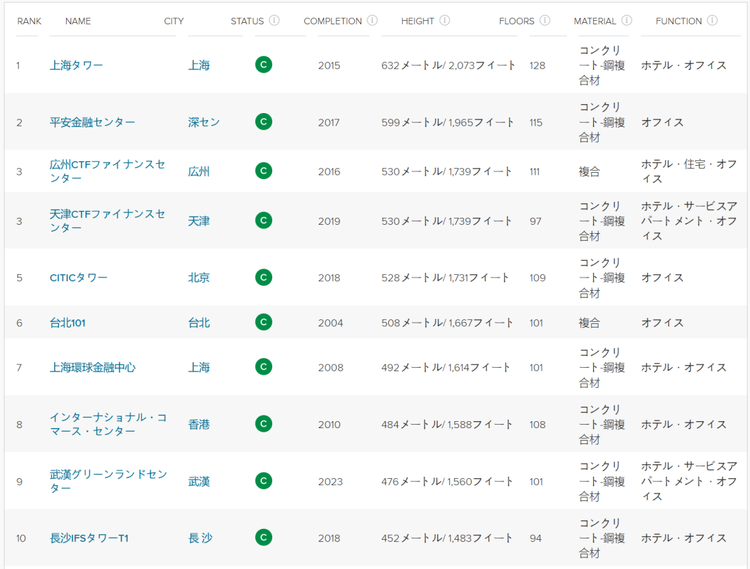
CTBUH(高層ビルと都市の生息地の評議会、The Council on Tall Buildings and Urban Habitat)が発表した「世界超高層ビルランキング2024」によると、世界で最も超高層ビルが多い国は中国であり、世界トップ100の高層ビルの70%以上が中国に位置しているという。

中華圏の超高層ビルの高さ番付 出所:CTBUH
🔗【政策】超高層ビルの建設にストップ!500m以上の計画にダメ出し!(qq.com)
🔗“世界2位”の座は上海からクアラルンプールへ、「ムルデカ118」の尖塔の完成で (qq.com)


江蘇省でダメ出し、「限高令」厳格化

しかし、これまで行われてきた華々しい高さの競演はもはや過去の歴史となる可能性が高くなってきた。中国は2021年から「限高令」と形容されるビルの高さを規制方針を打ち出し、500メートルを超える超高層ビルや100メートル超えの高層住宅の建設を厳しく制限している。こうした背景のもと、江蘇省住建庁が7月、省自然資源庁および省消防救援総隊と共に「高層建築の計画建設管理の強化に関する意見(意見募集稿)」を起草したことに注目が集まっている。同省は8月26日までパブリックコメントを募集する。

同草案では、国の超高層建築管理政策と同様に500メートル以上の建築物を建設してはならないことが明記され、さらに「市区の常住人口」が300万人に満たない都市では250メートル以上のビルを、100万人に満たない都市では100メートル以上(住宅については80メートル以上)のビルをそれぞれ建設してはならないと定めており、国の規制をさらに厳格化した内容となっている。

中国で高層ビルの高さが制限されるようになった背景には、多くの超高層ビルが計画倒れとなり、資金不足やデベロッパーの経営問題によってプロジェクトが頓挫したことや、都市のビルで空室率が高くなって新たな需要が見込めないこと、また安全性への懸念から消防対応の限界が明らかになってきたこと等、複合的な要因があることが指摘されている。


600メートルに”薄氷一枚”の背景

さて、中国本土で最も多くの摩天楼(150メートル以上)が集中する深圳で、最も高いビルが深圳福田区のCBDに位置する平安金融中心大厦である。このビルは、中国本土で上海タワーに次ぐ高さ599.1メートルを誇る。地上118階、地下5階で構成され、600メートルに僅かに満たないのは航空制限への対応などによる計画の変更が理由とされており、当初は高さ660メートルが予定されていた。

一方、昨今報じられる各地の超高層ビル建設の計画は明らかに国の超高層建築管理政策を強く反映したものとなっている。完成すれば深圳で3番目に高いビルとなる「羅湖之冠」は407メートルだ。平安金融中心と京基100 大厦(442メートル)に次ぐ83階建てのビルだが、もはや世界を舞台にスカイラインの高さを競うレベルではなくなっている。



大連の「緑地518」の行方は?

前述した江蘇省による「高さ制限」で注意しなければならないのは、「市区の常住人口」の規模で高さを制限している点だ。市区における常住人口が300万人に満たないなら250メートルが上限だ。かりに人口の要件を満たしても、250メートルを超える高さのビルを建設する場合は消防対策等の問題も鑑みつつ、建設計画の審査を行い、住宅都市農村建設部への届け出が必要になる(国家発展改革委員会「インフラ設備の建設プロジェクトの工程における安全品質の確保の管理強化に関する通知」)。

「250メートル」の壁を強く意識させられるプロジェクトが2026年に大連で竣工を予定している大連国際航運中心大厦だ。同ビルの高さは246メートルで、許可ラインぎりぎりということになる。さらに、かつて大連の新ランドマークになると期待されていた通称「緑地518」(緑地中心)は工事がストップしたままだ。同ビルは地下部分を完成させ、地上2フロア分が建設された段階で工事が止まって久しい。工事再開が期待されているが、当初予定されていた518メートルから大きくl目減りした高さとなる見通しだ。


上海虹口区に「浦西」最高ビル建設へ

上海でも高層ビルの話題が鳴りをひそめるようになっているが、上海北外灘中心のプロジェクトは注目に値する。バンド北(北外灘)の中心エリアで建設が進められている超高層ビルで、99階建て、高さは480メートルとなる予定だ。もちろん世界第3位の高さの上海タワー(632メートル)には遠く及ばないが、前述した深圳の「羅湖之冠」よりは高い。


同ビルは3月24日に基礎工事が始まり、2030年の竣工を予定しているとされる。特筆すべきは同ビルが浦西エリアで最も高いビルになることだ。現在、浦西エリアでは白玉蘭広場ビルが最も高く、高さは320メートル。これを大きく上回る上海北外灘中心が、浦西エリアで新たなランドマークとして脚光を浴びていくことは間違い。(編集:耕雲)

 参考 


 おすすめ  
中国渡航に欠かせないデーターSIM&NSN対策は中国移動香港CMlink社の「中国商楽通」をお勧め!中国ローミング回線利用で、5G/4G每日上限無制限使い放題! 30日間契約・月額JPY9,980【488元】


 おすすめ  
5G/4G中国ローミング上限無制限、毎日使い放題グローバルSIM「中国商楽通企業版」。日系中小企業の国際業務を安心・安定・格安で支援します。

 おすすめ  
「邦人NAVI」アプリをダウンロードして、会員登録で日本の地域IP制限AM/FMラジオをながら聴きましょうか。


この記事をシェアする

関連記事

その他

【活動】藝術融入生活——「2025Art plus 上海」展望未來願景

2025-10-28

中国上海都市開発
その他

"行列ができない地下鉄駅"を実現へ――上海で安全と時短を両立する「スマートサービス」が始動

2025-09-22

中国上海鉄道+1
その他🎙️ 音声付

【音声付】"行列ができない地下鉄駅"を実現へ――上海で安全と時短を両立する「スマートサービス」が始動

2025-09-22

中国上海鉄道+1